
共有“橡膠減振器”信息20條,熱線:18913098299
金諾專業提供橡膠減振器系列產品,歡迎選購!
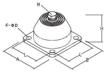
JGS型橡膠減振器
JGS型橡膠減振器是由金屬件與橡膠體復合而成。本產品分為3種尺寸,6種規格,額定載荷為80kg~1200kg,額定荷載下靜態變形量為2~12mm,固有頻率在6~11Hz范圍內,阻尼比大于0.6,對共振的抑制能力強。能在-6℃~+50℃溫度范圍內正常工作。本減振器對800轉/分以上的轉速的風機、風柜、冷柜、水泵、冷凍機組等振動機械的隔振降噪。其結構簡單,安裝方便,可直接安裝在機座下,同時也可用地基螺栓固定安裝,使用安全可靠。
|
型號 |
荷載重量 (Kg) |
額定 靜變形 mm |
額定 固有頻率 Hz |
外形尺寸(mm) |
|||||
|
|
|
|
|
H |
A |
B |
M |
L |
D |
|
1-1 1-2 |
80-150 150-250 |
5-2 |
8±2 |
60 |
105 |
105 |
12 |
76 |
φ12 |
|
2-1 2-2 |
250-400 400-550 |
5-2 |
7±2 |
80 |
130 |
130 |
16 |
100 |
φ16 |
|
3-1 3-2 |
550-800 800-1200 |
4-2 |
7±2 |
100 |
180 |
180 |
18 |
148 |
φ16 |
a>